Маршрутизатор Mikrotik RB4011iGS+RM
О товаре
- Состояние: Новый
- Модель: RB4011iGS+RM
- Код: 9412
- Все характеристики
Описание
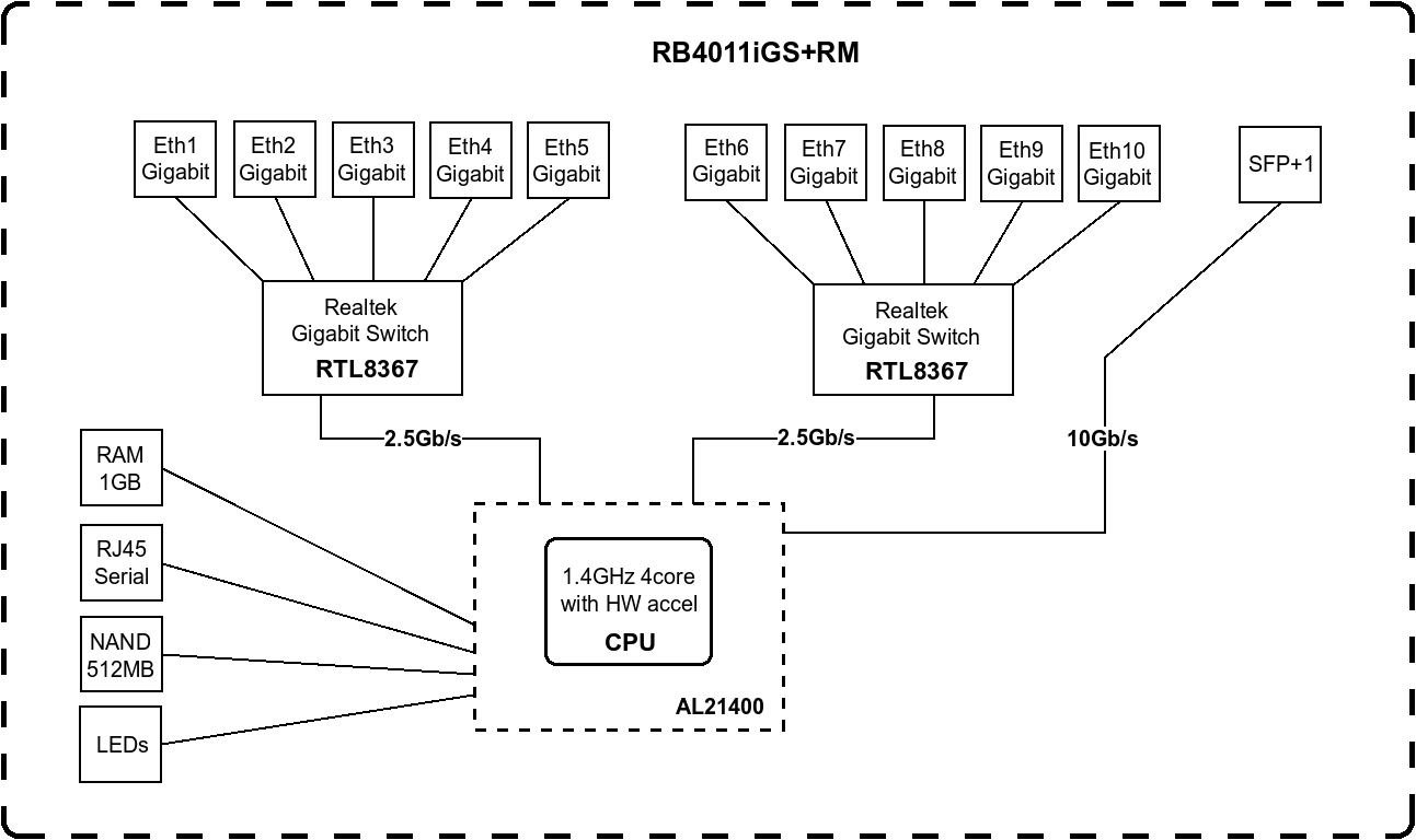
Маршрутизатор RB4011iGS+RM, 4x1.4GHz CPU, 1GB RAM, 10x10/100/1000 Ethernet RJ45, 1xSFP+, RouterOS L5,1U, PoE in/out
Новый многопортовый маршрутизатор MikroTik из новейшей серии оборудования MikroTik RB4011, в прочном металлическом корпусе, оснащённый мощным четырёхъядерным процессором Cortex A15 AL21400 с аппаратной поддержкой шифрования IPsec, тактовой частотой 1.4 ГГц, как и в устройстве RB1100AHx4. Устройство оснащено 1 ГБ оперативной памяти, 10-ю Ethernet-портами 1 Гбит (порт №1 оснащен поддержкой получения питания от других устройств посредством PoE стандарта 802.3af/at (PoE+) 18—57 В; порт №10 оснащён поддержкой питания подключённых устройств посредством PoE out стандарта Passive PoE до 57 В), 1-им портом SFP+ (10 Гбит) (модули приобретаются отдельно), консольным портом RJ45. Питание маршрутизатора также может осуществляться посредством входящего в комплект блока питания 24 В, 1.5 A. Устанавливается в коммутационную стойку 19 дюймов.
Комплект поставки: маршрутизатор; адаптер питания; крепления в стойку.
Область применения: корпоративные сети малого\среднего бизнеса.
| Питание, В | DC 24 |
| Поддержка PoE | Passive PoE |
| Количество портов SFP | 1 |
| Количество / скорость настраиваемых WAN / LAN | 10x1000 Мбит/с |






